推挽電路
mos管推挽電路,什么是推挽電路。推挽電路就是兩個不同極性晶體管間連接的輸出電路。推挽電路采用兩個參數相同的功率BJT管或MOSFET管,以推挽方式存在于電路中,各負責正負半周的波形放大任務,電路工作時,兩只對稱的功率開關管每次只有一個導通,所以導通損耗小效率高。推挽輸出既可以向負載灌電流,也可以從負載抽取電流。
推挽電路的組成結構
mos管推挽電路,看看推挽電路的組成結構。如果輸出級的有兩個三極管,始終處于一個導通、一個截止的狀態,也就是兩個三極管推挽相連,這樣的電路結構稱為推拉式電路或圖騰柱(Totem-pole)輸出電路。
當輸出低電平時,也就是下級負載門輸入低電平時,輸出端的電流將是下級門灌入T4;當輸出高電平時,也就是下級負載門輸入高電平時,輸出端的電流將是下級門從本級電源經 T3、D1 拉出。這樣一來,輸出高低電平時,T3 一路和 T4 一路將交替工作,從而減低了功耗,提高了每個管的承受能力。又由于不論走哪一路,管子導通電阻都很小,使 RC 常數很小,轉變速度很快。
因此,推拉式輸出級既提高電路的負載能力,又提高開關速度?!⊥仆旖Y構一般是指兩個三極管分別受兩互補信號的控制,總是在一個三極管導通的時候另一個截止。要實現線與需要用 OC(open collector)門電路。
電壓和電流
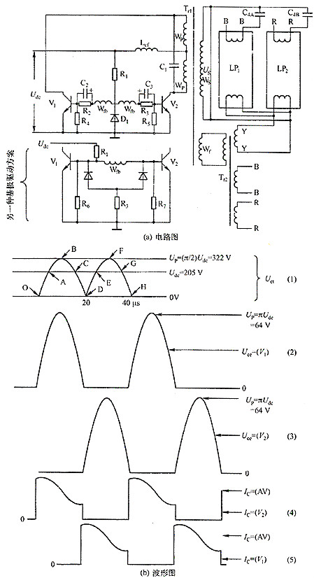
在圖(b)中的(1)所示的是圖(a)中功率變壓器Tr1的中心抽頭的波形,這種波形是因為電流反饋電感Lcf的存在及一個經過全波整流后的正弦波在過零點時會降到零。因為Lcf的直流電阻可以忽略不計,所以加在上面的直流電壓幾乎為零,在Lcf輸出端的電壓幾乎等于輸人端的電壓,即Udc。同時因為一個全波整流后的正弦波的平均幅值等于Uac=Udc=(2/π)Up,則中心抽頭的電壓峰值為Up=(π/2)Udc。由于中心抽頭的電壓峰值出現于開關管導通時間的中點,其大小為(π/2)Udc,因此另一個晶體管處于關斷狀態時承受的電壓為πUdc。

假設正常的交流輸入電壓有效值為120V,并假設有±15%的偏差,所以峰值電壓為1.41×1.15×120=195V。
考慮到PFC電路能產生很好的可以調節的直流電壓,大約比輸入交流電壓高20V左右,就有Udc=195+20=215V。這樣晶體管要保證安全工作就必須能夠承受值為πUd。的關斷電壓,也就是675V的電壓。當前有很多晶體管的額定值都可以滿足電流電壓和頻率ft的要求(如MJE18002和MJE18004,它們的Uce=1000V,ft=12MHz,β值最小為14)。
即使晶體管的ft=4MHz也沒有關系,因為晶體管在關斷后反偏電壓的存在大大減小了它的存儲時間。
從圖中的(2)~(5)可以看出,晶體管電流在電壓的過零點處才會上升或下降,這樣可以減少開關管的開關損耗。因為通過初級的兩個繞組的正弦半波幅值相等,所以其伏秒數也是相等的,而且由于存儲時間可以忽略(見圖(b)中的(1)),也就不會產生磁通不平衡或瞬態同時導通的問題了。
每個半周期內的集電極電流如圖中的(4)和(5)所示。在電流方波脈沖頂部的正弦形狀特點將在下面說明。正弦形狀中點處為電流的平均值(Icav),它可以根據燈的功率計算出來。假設兩盞燈的功率均為P1,轉換器的效率為叩,輸人電壓為Udc,則集電極電流為

假設兩燈管都是40W,轉換器效率η為90%,從PFC電路得到的輸人電壓Udc為205V,則

推挽電路特點
mos管推挽電路,推挽電路適用于低電壓大電流的場合,廣泛應用于功放電路和開關電源中。
優點是:結構簡單,開關變壓器磁芯利用率高,推挽電路工作時,兩只對稱的功率開關管每次只有一個導通,所以導通損耗小。
缺點是:變壓器帶有中心抽頭,而且開關管的承受電壓較高;由于變壓器原邊漏感的存在,功率開關管關斷的瞬間,漏源極會產生較大的電壓尖峰,另外輸入電流的紋波較大,因而輸入濾波器的體積較大。
采用互補晶體管和CMOS驅動級的推挽電路圖
利用CMOS反相器4049作TDA4700輸出信號的反相級和晶體管T1、T2的驅動級。三個反相器并聯有兩個輸出端分別加到推挽電路的兩個晶體管基極上。電阻R2用來在控制電路不能保證有足夠電壓時給SIPMOS管的門極提供一個一定的電位,防止該管誤導通。電容C3用來縮短時間常數R2Cbe,這里Cbe為晶體管T基-射極間電容。

烜芯微專業制造二極管,三極管,MOS管,橋堆等20年,工廠直銷省20%,4000家電路電器生產企業選用,專業的工程師幫您穩定好每一批產品,如果您有遇到什么需要幫助解決的,可以點擊右邊的工程師,或者點擊銷售經理給您精準的報價以及產品介紹

